JAIL DOORS & JAIL LOCK REPAIRS & UPRADES: HOME OF THE TOUGHEST MAXIMUM-SECURITY JAIL LOCKS: REPAIRS & SERVICES OF ALL JAIL SYSTEMS

FEDERAL LOCKING SERVICES SINCE 1995 CALL 615-512-0367 Upgrades for Enhanced Security and Functionality.
JAIL CELL DOOR LOCKING PROBLEMS LISTED:
DOOR HINGES OUT OF ALIGNMENT OR DAMAGED
DOORS NOT SECURED WHEN INMATES HAVE ACCESS TO DAYROOMS ALLOWING FOR ABUSE OF LOCKS DOORS & HINGES
BROKEN SPRINGS AND WORN OR BROKE COMPONENTS
DOOR FRAMES OUT OF ALIGNMENT DUE TO INCORRECT INSTALLATIONS OR BUILDING SETTLING
DEFECTIVE OR INADAQUATE MANUFACTURED LOCKS
OPERATIONAL PROCEDURES & MANAGEMENT OF THE JAIL ARCHITECTURAL SPECIFICATIONS FOR DOOR LOCKS
INADAQUATE LOCKS FOR TRUE MAXIMUM OR MEDIMUM SECURTY JAIL FACILITY ARE EASILY DAMAGED.
WE WILL GLADLY INSPECT & PROVIDE AN IMMEDATE, EFFECTIVE & WORKING SOLUTION WHERE POSSIBLE & THEN FOLLOWUP WITH NEEDED RETROFITS OR UPGRADES AS REQUIRED TO PROVIDE FOR ULTIMTE JAIL DOOR & LOCK SECURITY.
Maximum Security Lock Services & Solutions


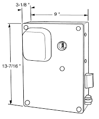
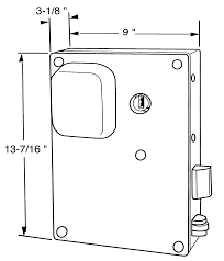
MAXIMUM SECURITY JAIL LOCKS
Reliable Services for Jail Door Locking Systems Closers and all related hardware. Below is Quick Solenoid Unlock Operation Lock






DETENTION DOORS & LockING SYSTEMS SERVICE CONTACT ASSURE WORKING SECURITY FOR OVERALL OPERATION & SECURE LOCKING OF ALL LOCKS & LOCKING SYSTEM DOORS




HINGED FOOD PASSES OR HIGH SECURITY SLIDE PASS DOORS KEYED LOCKS OPTIONAL
HINGED FOOD PASSES OR HIGH SECURITY SLIDE PASS DOORS KEYED LOCKS OPTIONAL WITH VIEWING INSPECTION WINDOW
MAXIMUM SECURITY JAIL LOCK ELECTRO-MECHANICAL HIGHLY DURABLE ABUSE RESISTANT & RELIABLE
JAIL CELL LOCK-SECURITY JAIL LOCK ELECTRO-MECHANICAL



HIGH SECURITY SLIDE PASS DOORS KEYED LOCKS OPTIONAL

Security Detention Systems Providing High Security Locking Doors with Total Reliability & Functionality
Reliable Proven Expert repairs and upgrades for all jail locks & Door Locking Doors
Were always glad to assist in any way quotes or technical information
© 2025. All rights reserved.
FEDERAL LOCKING SERVICES SINCE 1995 CALL 615-512-0367 Upgrades for Enhanced Security and Functionality.
Soon Coming to be Introduced New Security Designed Jailer Friendly Cuff Food Pass Portals that Gives Faster Smoother Slide Operation No Hinges with Highly Reliable Non-Tamper Locking for Keyed or Quick Lever Release with Auto Shut Locking Function. New Imagines will be available soon!
Proven Expert repairs and upgrades for all jail locks & Door Locking Doors
